PA旗舰厅

News information

资讯媒体

一文了解汽车底盘基础知识解析

2024-08-23 15:08:48

汽车的心脏——发动机,作为动力的源泉,其使命在于燃烧燃料,释放出推动车辆前行的能量。而底盘,则是这一力量的执行者,它不仅接收发动机的强大动力,还巧妙地让汽车根据驾驶者的意愿,在道路上灵活穿梭。环保橡胶密封圈

 

底盘的复杂精妙,在于它由四大核心系统紧密协作构成:传动系统、行驶系统、转向系统与制动系统,每一部分都承担着不可或缺的角色。密封橡胶硅胶材料是什么

 

传动系统:动力的桥梁

 

▲机械式传动系统的组成及布置形式

 

传动系统,如同精密的齿轮组合,负责将发动机的动力高效传递到车轮上。它包括离合器、变速器、传动轴、主减速器、差速器及半轴等关键部件。连接器硅橡胶零配件定制厂家

 

这些部件各司其职,共同实现了汽车的减速增矩、变速、倒车及动力中断等功能,更让车轮拥有了适应不同路况的差速能力。汽车橡胶硅胶配件名称图解

 

传动系统根据不同的结构和动力传递方式,可细分为机械式、液力式、电力式等多种类型,而前置后驱、前置前驱、后置后驱等不同的布置方案,则满足了不同车型和用途的需求。橡胶密封圈生产厂家

 

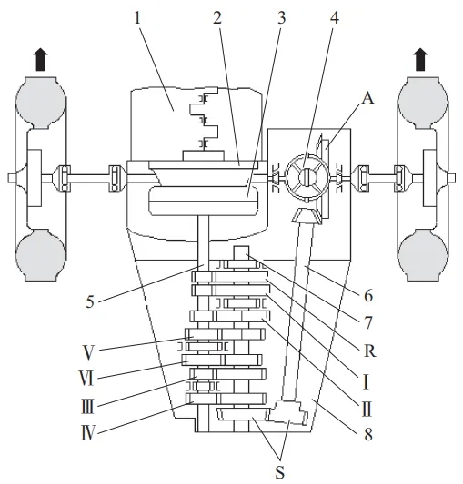
▲发动机前置轮驱动机械式传动系统布置

 

1—发动机;2—从动盘;3—离合器模块;4—差速器;5—驱动轴(主轴);6—带边轴的主动齿轮;7—从动轴;8—手动变速器;Ⅰ—第1挡;Ⅱ—第2挡;Ⅲ—第3挡;Ⅳ—第4挡;Ⅴ—第5挡;Ⅵ—第6挡;R—倒车挡;A—主减速器;S—中间传动的圆柱齿轮

 

▲液力机械式传动系统

 

▲静液式传动系统

 

▲电力式传动系统

 

▲前置后驱动(FR):发动机前置后轮驱动方案;主要用于货车、部分客车和部分高级轿车。

 

▲前置前驱动(FF):主要用于轿车和微型、轻型客车等。

 

▲后置后驱动(RR):特点是发动机布置在后轴之后,用后轮驱动;主要用于大中型客车和少数跑车。

 

▲中置后驱动(MR):特点是发动机布置在前后轴之间,用后轮驱动;主要用于跑车和少数大、中型客车。

 

▲全轮驱动(AWD):特点是传动系统增加了分动器,动力可以同时传给前后轮;主要用于越野车及重型货车。广东新能源产业橡胶硅胶配件定制生产厂家

 

行驶系统:稳健的支撑

 

行驶系统,是汽车的骨架与纽带,它由车架、车桥、车轮和悬架等构成。这一系统不仅支撑着汽车的全部重量,还通过车轮与路面的紧密接触,确保了车辆能够平稳行驶。密封圈橡胶硅胶材料密度

 

▲行驶系统的组成与受力

 

行驶系统巧妙地缓冲了路面的冲击与振动,提升了乘坐的舒适度,同时与转向系统协同工作,确保了汽车行驶方向的精确控制。油封橡胶密封垫圈

 

转向系统:方向的指引

 

转向系统,是驾驶者与汽车之间的默契桥梁。它由转向操纵机构、转向器和转向传动机构三部分组成,部分车型还配备了转向助力装置,让驾驶变得更加轻松。汽车连接器硅橡胶密封接插件

 

▲机械式转向系统

 

▲动力转向系统

 

转向系统的主要任务,就是根据驾驶者的意图,引导汽车沿着既定的方向行驶,并在遇到侧向干扰时,及时恢复汽车的稳定行驶状态。连接器密封圈图片

 

制动系统:安全的守护者

 

制动系统,是汽车安全的最后一道防线。它由前轮制动器、后轮制动器以及控制装置、传动装置和供能装置等组成,分为行车制动和驻车制动两大类。

 

▲汽车制动系统简单的工作原理

 

无论是让行驶中的汽车减速停车,还是确保车辆驻留原地不动,制动系统都发挥着至关重要的作用。通过人力、发动机动力或两者结合的方式,制动系统实现了对汽车速度的有效控制,保障了行车安全。新能源电池橡胶密封图片价格

 

 

特别声明:内容来源 汽车电子学堂 仅供参考,以传递更多信息而不是盈利。版权属于原作者。如有侵权,请联系删除。

返回列表
联系
微信

业务咨询

顶部